张小泉集团及法人等被执行31.3亿,已被限制高消费

Connor USDT交易app 2025-04-02 40 0

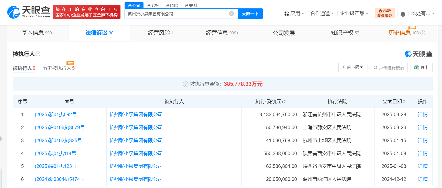
天眼查法律诉讼信息显示,近日,杭州张小泉集团有限公司、上海富春投资有限公司、张樟生、张国标等新增一条被执行人信息,执行标的31.3亿余元,执行法院为浙江省杭州市中级人民法院上海虚拟币 公司

张小泉集团及法人等被执行31.3亿<strong></p>
<p>上海虚拟币 公司</strong>,已被限制高消费

杭州张小泉集团有限公司成立于2001年1月,法定代表人为张樟生,注册资本约1681.7万人民币,由杭州富泉投资有限公司、杭州张小泉集团有限公司工会共同持股上海虚拟币 公司。天眼风险信息显示,该公司现存6条被执行人信息,被执行总金额超38亿余元,此外,该公司及其法定代表人张樟生已被限制高消费。

张小泉集团及法人等被执行31.3亿<strong></p>
<p>上海虚拟币 公司</strong>,已被限制高消费

张小泉集团及法人等被执行31.3亿<strong></p>
<p>上海虚拟币 公司</strong>,已被限制高消费

展开全文

据观察者网了解,截至2025年3月,控股股东杭州张小泉集团持有的上市公司股份中,99.9%已被质押或冻结,且因债务违约,质押股份对应的融资业务中已有5笔逾期,涉及本金5.10亿元;对外担保违约未代偿本金更高达44.86亿元上海虚拟币 公司。其中,控股股东及实控人多次为关联企业(如富春控股集团)的保理融资、借贷等业务提供担保。

原因是控股股东富春控股集团过去几年大量投资与张小泉主业无关的项目(如物流、房地产),导致资金链断裂上海虚拟币 公司。例如,2022年因对外投资失败,富春控股需承担连带担保责任,直接引发多起债务纠纷;2023年,控股股东又为富春控股与上海城邦保理公司的2亿元融资提供股权质押担保,导致股份被冻结。

此外,2024年5月,原董事长张樟生卸任,由张国标之子张新程接任;张樟生之子张新尧则被任命为董事兼副总经理上海虚拟币 公司。此举也被外界解读为应对债务危机的家族内部调整,加剧了投资者对公司治理稳定性的担忧。

张小泉集团及法人等被执行31.3亿<strong></p>
<p>上海虚拟币 公司</strong>,已被限制高消费

张小泉品牌始创于1628年,以剪刀起家,其产品以“锋利耐用、工艺精湛”著称上海虚拟币 公司。张小泉品牌曾是最早一批被国家商务部评为中华老字号的民族品牌。

但中华老字号并非一“老”永逸的护身符上海虚拟币 公司。2023年,商务部首次将55个长期经营不善的品牌移出中华老字号名录,对73个经营不佳、业绩下滑的品牌要求限期整改。其中,因“拍蒜刀断”深陷舆论风波的张小泉被列入“予以整改”名单。

(羊城晚报•羊城派综合自大象新闻、新华社、人民网、鲁中晨报、观察者网)

评论